產品特性
華(huá)凱SQS係列汽水混合器是(shì)公司引進國外技 術開發研製的新型節能環 保產品。它是利用蒸汽與水直接混合將水加熱,具有低噪聲(shēng)、無振動、熱(rè)效高等特點,被廣泛地應用在加熱生活、生產用(yòng)熱水及熱水(shuǐ)除(chú)氧等係統中。汽水混合器(qì)長期運行實踐證明,該產品(pǐn)使用(yòng)效果良(liáng)好。
結構(gòu)原理
氣水混合器主要由噴管、殼體、網板等部分組成。被加熱水通過呈拉伐爾狀的噴管時,蒸氣從汽水混合器噴管外側通(tōng)過管壁上(shàng)許多斜向小噴頭噴入水中,兩者在高(gāo)速流動中瞬間良好混合,以(yǐ)達到加(jiā)熱的目(mù)的。調節(jiē)蒸氣(qì)側閥門,就可得到所需溫度(dù)的熱水。
表I及表II分別列出汽水混合器開式係(xì)統和(hé)循環係統在額(é)定進水流量及蒸氣為0.4MPa下,不同加熱溫度(dù)與蒸氣消耗量的(de)關(guān)係,供客戶選擇(zé)汽水混合器和複核氣源時參考。(說明:蒸氣壓力0.4MPa不(bú)一定是加熱器運行的工況條件)。
汽水混合器開式係統(tǒng)蒸氣消耗量表(飽和蒸氣壓力為0.4MPa)表I 單位:t/h
| SQS | 4 | 6 | 8 | 10 | 12 | 16 | 20 | 24 | 32 | 40 | 48 | |
| 額定進水量D1 | 1.2 | 2.5 | 4.5 | 7 | 10 | 16 | 25 | 35 | 60 | 105 | 165 | |
|
|
20 | 0.039 | 0.081 | 0.146 | 0.228 | 0.325 | 0.52 | 0.813 | 1.138 | 1.951 | 3.145 | 5.366 |
| 40 | 0.081 | 0.188 | 0.303 | 0.471 | 0.672 | 1.076 | 1.681 | 2.353 | 4.034 | 7.057 | 11.092 | |
| 60 | 0.125 | 0.261 | 0.469 | 0.73 | 1.043 | 1.699 | 2.609 | 3.652 | 6.261 | 10.952 | 17.217 | |
| 80 | 0.173 | 0.36 | 0.649 | 1.009 | 1.441 | 2.306 | 3.603 | 5.045 | 8.649 | 15.135 | 23.784 | |
汽水混合器循環係統蒸氣消耗量表(飽和蒸氣壓力為0.4MPa)表II 單位:t/h
| SQS | 4 | 6 | 8 | 10 | 12 | 16 | 20 | 24 | 32 | 40 | 48 | |
| 額定進水量D1 | 1.2 | 2.5 | 4.5 | 7 | 10 | 16 | 25 | 35 | 60 | 105 | 165 | |
|
|
70-95 | 0.054 | 0.112 | 0.201 | 0.312 | 0.446 | 0.714 | 1.116 | 1.562 | 2.678 | 4.687 | 7.366 |
| 70-110 | 0.088 | 0.183 | 0.33 | 0.514 | 0.734 | 1.174 | 1.83 | 2.569 | 4.404 | 7.706 | 12.11 | |
| 70-130 | 0.137 | 0.286 | 0.454 | 0.8 | 1.143 | 1.829 | 2.857 | 4 | 6.857 | 12 | 18.807 | |
注:表I、表II中0.4MPa蒸氣不一定是本產品的使用條件。具體汽水混合器使用請谘詢(xún)銷售(shòu)工程師


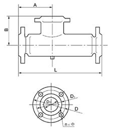
SQS汽水(shuǐ)混合器外形尺寸表
| 型號 | JSDY- SQS-4 | JSDY-SQS-6 | JSDY- SQS-8 | JSDY- SQS-10 | JSDY-SQS-12 | JSDY- SQS-14 | JSDY- SQS-20 | JSDY-SQS-24 | JSDY- SQS-32 | JSDY- SQS-40 | JSDY-SQS-48 | |
|
|
A | 105 | 130 | 220 | 450 | |||||||
| B | 105 | 130 | 170 | 300 | ||||||||
| L | 240 | 360 | 660 | 1200 | ||||||||
| 水側連接(jiē)法蘭 | DN | 30 | 50 | 100 | 200 | |||||||
| D1 | 110 | 145 | 210 | 350 | ||||||||
| D | 145 | 180 | 245 | 405 | ||||||||
| n*φ | 4*18 | 4*18 | 8*18 | 12*22 | ||||||||
| 汽側連接法蘭 | DN | 40 | 65 | 125 | 250 | |||||||
| D1 | 110 | 145 | 210 | 350 | ||||||||
| D | 145 | 180 | 245 | 405 | ||||||||
| n*φ | 4*18 | 4*18 | 8*18 | 12*22 | ||||||||








